Produktbeschreibung
ELPM-S3LW
Extrem low Power Modul für IoT-Anwendungen
Kombiniert LoRa und ESP in einem Modul
Das ELPM-S3LW ist ein Durchbruch für Entwickler, die batteriebetriebene IoT-Geräte und Anwendungen zur Energiegewinnung entwickeln.
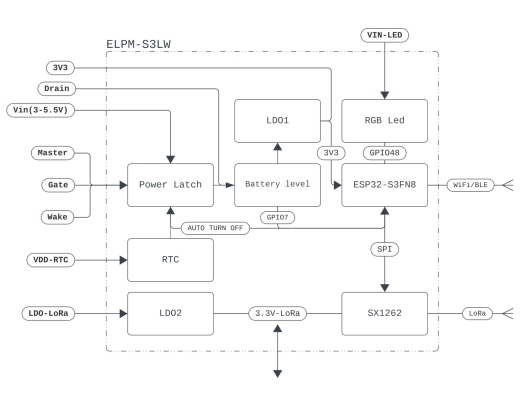
Dieses innovative Modul kombiniert die Leistung des ESP32-S3FN8-Mikrocontrollers mit dem Lora SX1262-Transceiver für große Reichweiten und setzt gleichzeitig auf minimalen Energieverbrauch.
Features:
Technische Daten:
OBJEX ELPM S3LW/S3
LoRa
Extrem low Power Modul für IoT-Anwendungen
Kombiniert LoRa und ESP in einem Modul
Das ELPM-S3LW ist ein Durchbruch für Entwickler, die batteriebetriebene IoT-Geräte und Anwendungen zur Energiegewinnung entwickeln.
Dieses innovative Modul kombiniert die Leistung des ESP32-S3FN8-Mikrocontrollers mit dem Lora SX1262-Transceiver für große Reichweiten und setzt gleichzeitig auf minimalen Energieverbrauch.
Features:
- Ultra Low Power-Design: Das ELPM-S3LW verfügt über eine integrierte Energieeinheit, die sich an Ihre spezifischen Bedürfnisse anpasst und den Energieverbrauch minimiert. Mit seinem Deep-Stop-Modus ist dieses Modul ideal für Anwendungen, bei denen die Batterielebensdauer entscheidend ist.
- Perfekt für vielfältige Anwendungen: Egal, ob Sie industrielle Lösungen oder allgemeine IoT-Geräte entwickeln, das ELPM-S3LW bietet die Flexibilität und Effizienz, die Sie benötigen.
- Effizienzorientiert: Mit seinem Fokus auf niedrigen Energieverbrauch ist das ELPM-S3LW eine ausgezeichnete Wahl für Projekte, die eine langanhaltende Betriebszeit und optimale Energienutzung erfordern.
Technische Daten:
OBJEX ELPM S3LW/S3
- ESP32-S3FN8 (32-bit, 240 MHz)
- Memory Size: 8 MB Flash
- GPIO: 33 available (7 reserved for LoRa - SPI)
- WiFi - IEEE 802.11 b/g/n-compliant
- Bluetooth 5/ Bluetooth LE
- Interfaces: I²C, I²S, SPI, UART, USB
- RGB status LED (WS2812B)
- Deep Stop Mode, rising/falling edge detector & RTC (1-100 nA)
- Footprint: 18 x 30 mm (0.71 x 1.18 in)
- Weight: 2.30 grams (0.08 oz)
LoRa
- Based on SX1262
- Frequency bands: 862 MHz to 928 MHz
- Signal power: 22 dBm
- Transmission distance: 10 km
- Communication interface: SPI
- 50 Ohm U.FL/pad antenna
- Full compatibility with LoRa and LoRaWAN
Kunden, die diesen Artikel kauften, haben auch folgende Artikel bestellt:
Es folgt ein Produktslider - navigieren Sie mit der Tab-Taste zu den einzelnen Artikeln.
Top
Link S3LW
Zuletzt angesehen
Es folgt ein Produktslider - navigieren Sie mit der Tab-Taste zu den einzelnen Artikeln.
Top

ELPM-S3LW